[Features] ●Suitable for fixing electric wires, pipes, etc. to rough wall surfaces. Firmly fix the unity by simply pushing it into the pre-drilled hole.
[Use] ●Fixing cable ties.
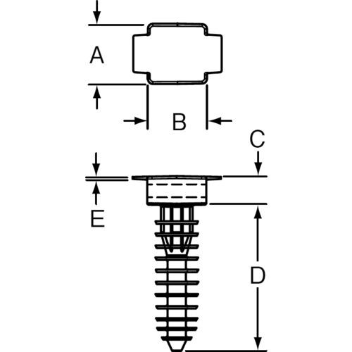
[Specifications] ● Color: Black ● Length (mm): 14.7 ● Width (mm): 14.5 ● Height (mm): 7.1 ● Width of binding band used (mm): 2.3 to 8.9 ● Hole diameter (mm): φ8. 0 - Fixing method: push - A (mm): 14.7 - B (mm): 14.5 - C (mm): 7.1 - D (mm): 35.6
[Specification 2] - Indoor/outdoor use - Operating temperature range: -60 to 85°C