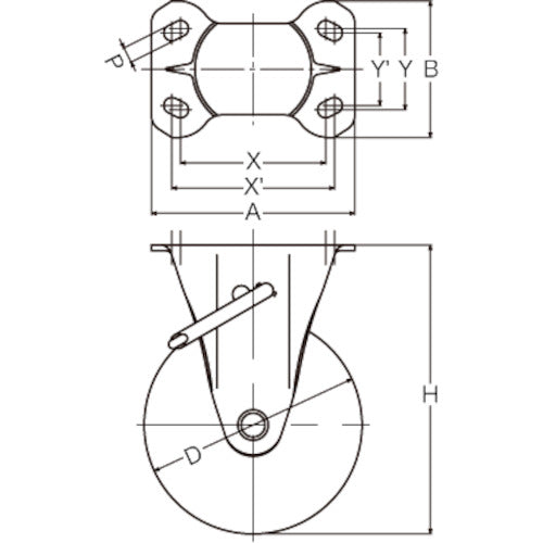
Home › HAMMER CASTER Co.,Ltd. › ハンマー Jシリーズ 固定 SP付 ウレタンB車150mm 413JR-UBB150 HAMMER CASTER
お気に入り機能をご利用いただくにはログインが必要です。
閉じる